gayxxoo,在线观看免费p片视频网站地址,亚洲欧洲久久,91精品综合视频,请鬼在线观看免费高清恐怖,九九久久综合网站,91香蕉视频污在线

 

¡¡¡¡¡¡¡¡¡¡¡¡¡¡¡¡¡¡¡¡¡¡
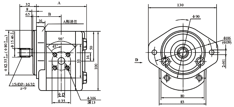
¡¡¡¡¡¡¡¡¡¡¡¡¡¡ CBKϵÁи߉ºýX݆±Ã

ÍâÐμ°°²ÑbßB½Ó³ß´ç£º
¡¡¡¡£¨1£©†Î±Ã


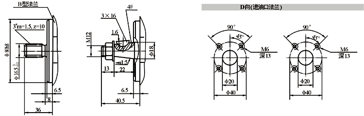
¡¡¡¡£¨2£©ëp“(li¨¢n)±Ã
³ß´ç\ÅÅÁ¿
4
6
8
10
12
16
20
25
A
84
87.5
90
93
97
102
108
116
B
39.75
41.5
42.75
44.25
46.65
48.75
51.75
55.75
Q1,Q2
44.5
48
50.5
53.5
58.3
62.5
68.5
76.5

×¢£ºÀ¨Ì–(h¨¤o)ƒÈ(n¨¨i)³ß´çžéBÐÍ·¨Ìm³ß´ç£¨¹«ÖÆ£©£¬ÆäÖУºC=54.5+Q1+Q2/2,D=76.5+Q1+Q2


<»Ø®a(ch¨£n)Æ·í“> ¡¡¡¡<ÉÏÒ»í“>