gayxxoo,在线观看免费p片视频网站地址,亚洲欧洲久久,91精品综合视频,请鬼在线观看免费高清恐怖,九九久久综合网站,91香蕉视频污在线

?L2KQF£­WÐͲٿvšâéy

ÓÃ;ÅcÌØÕ÷:
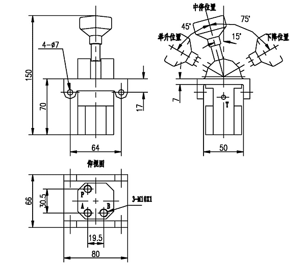
¡¡¡¡ÎÒ¹«Ë¾žéÝdÖØ×ÔжÆû܇é_°l(f¨¡)µÄ2KQF-WÐͲٿvšâéyÖ÷ÒªßmÓÃÓÚÝdÖØÆû܇µÄ×ÔжҺ‰ºÏµ½y(t¨¯ng),ÓÃÓÚ¿ØÖÆ“QÏòéyµÄ„Ó(d¨°ng)Á¦šâÔ´¡£
¡¡¡¡®”(d¨¡ng)ÊÖ±úÔÚ¡°ÖÐÍ£¡±Î»ÖÕr(sh¨ª), P¿ÚêP(gu¨¡n)é], A¡¢B¿Ú²»¹¤×÷£»®”(d¨¡ng)ÊÖ±úÔÚ¡°ÅeÉý¡±Î»ÖÕr(sh¨ª),P¿ÚÅcA¿ÚÏàͨ,B¿Ú²»¹¤×÷£»®”(d¨¡ng)ÊÖ±úÔÚ¡°Ï½µ¡±Î»ÖÕr(sh¨ª)£¬P¿ÚÅcB¿ÚÏàͨ£¬P¿ÚÅcA¿ÚÏàͨ,A¿Ú²»¹¤×÷¡£
ˆDÐηûÌ–(h¨¤o)£º

¼¼Ðg(sh¨´)…¢”µ(sh¨´)£º

ÍâÐμ°°²ÑbßB½Ó³ß´ç£º